Actes du colloque - Volume 3 - page 611

2419
Technical Committee 211 /
Comité technique 211
(ULS) and stone columns (made of gravel and sand) which
demonstrate a ductile behavior in its Serviceability Limit State
(SLS) due to its compressibility and drainage characteristics
(influence of the consolidation process on the design). Due to
the brittle behavior of concrete type columns, larger safety
factors have to be introduced, certainly for very slender
elements. The General Reporters fully agree that similar
approaches cannot be applied for very slender concrete type
columns and for stone columns. However it has to be remarked
that it is not common to consider stone columns as drainage
elements.
3.2
Stone columns
In the present Technical Session,
Vlavianos et al. (2013)
propose technical solutions for the design of a road project in
the Region of Western Greece. The geology of the site consists
of soft silty clays and silty sands with high liquefaction
susceptibility. The high ground water table and the seismicity of
the area result in a design solution including GI. The installation
of stone columns followed by preloading was selected. For the
design of the bridge embankments and the pile foundations for
bridge piers, a comparative parametric study was performed
with or without stone columns. As discussed by the authors, the
main aim of the preloading was the increase of the undrained
shear strength of the superficial fine-grained soil layer. With the
installation of the stone columns, the following requirements
were met:
- increase of the general stability of the embankments;
- increase of the bearing capacity;
- reduction of the internal forces in the classical pile
foundations;
- acceleration of the consolidation process;
- mitigation of the liquefaction susceptibility.
Although “stone columns” is nowadays a well-known GI
method, installation effects arising during the execution still
remains poorly understood. In order to investigate this question,
Klimis and Sarigiannis (2013)
describe the numerical analysis
of the installation of stone columns with a diameter of 0.8 m
and a depth of 23 m by means of the FLAC 3D Finite
Difference code. The excavation stage has been modeled in one
unique step and the realization of the stone column as follows:
- a) vibration and compaction, modeled by the application of
an equivalent radial pressure against the internal wall of the
cylindrical excavation;
- b) filling with a linear elastic geomaterial.
This numerical sequence was necessary to correctly determine
the area in the surrounding soil influenced by the installation of
the stone column and hence to assess with more accuracy the
effective diameter of this latter.
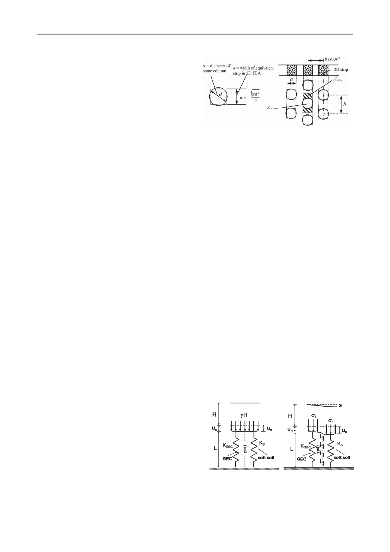
Poon and Chan (2013)
present another methodology to
design stone columns. In this analysis, stone columns are
replaced by equivalent strips, as illustrated in Fig. 1. The
equivalent friction angle of the strips is dependent of the stress
concentration ratio which is defined as the ratio of the average
applied vertical stress within stone column to the average
vertical stress of the surrounding soil at the same level. A
method is proposed to compute this ratio by means of an
axisymmetric Finite Element Model (FEM) containing one
column and the surrounding soil. Numerical results obtained
with this methodology (2D FEM with strips) have been
compared with the results of a 3D FEM and with the results of a
conventional 2D FEM analysis in which the entire soil is
represented by a single block with equivalent properties. The
authors conclude that the strip model is preferable to the block
model for the assessment of the horizontal displacements.
Further research is still necessary to investigate the question of
the equivalent strength of the interface in the 2D strip method.
Figure 1. 2D stone column strips, from Poon and Chan (2013)
3.3
Geotextile confined columns
Rigid inclusions are a common GI technique for foundations of
embankments in soft soils. Nevertheless, when the soft soil does
not provide enough lateral support, the columns can be encased
with a geotextile. The following papers mainly focus on the
geotextile confined columns, also defined as geoencased
granular columns (GEC’s).
Castro et al. (2013)
describe and compare analytical and
numerical analyses considering the behavior and the
performances of geotextile confined columns (GEC’s).
Parametric studies of the settlement reduction and stress
concentration show the efficiency of GEC’s for GI purposes.
This efficiency is mainly related to the contrast of stiffness
between the encasement and the soil. As another conclusion, it
is found that the settlement reduction is nearly the same for
different replacement ratios but decreases with the applied load.
Finally, columns with smaller diameter are better confined.
If GEC’s are often used to reduce settlements induced by the
construction of large embankments on soft soils, up to now no
rational displacement based design approach has been
introduced. For the purpose of investigating this question,
Galli
and di Prisco (2013)
first review the most common design
standards and then focus on the interaction between the
embankment and the geoencased columns. The main
contribution of the paper resides in the consideration of the
deformable base of the embankment. Indeed, real embankments
are characterized by a deformable base, as illustrated in Fig. 2.
As a consequence, different values of settlement are expected
for the top of the column (u
c
) and for the soil (u
s
) at the base of
the embankment. As explained by the authors, vertical stresses
are redistributed at the base of the embankment between the
internal zone of the cell (above the column characterized by an
average stress
i
) and the external one (a circular crown above
the soil, characterized by an average stress
e
) due to the arch
effect. Shear stresses are then activated at the GEC-soil
interface, and differential settlements are expected even at the
top of the embankment.
a)
b)
Figure 2. Mechanical response of the system in case of (a) rigid and (b)
deformable embankment, from Galli and di Prisco (2013)
Hataf and Nabipour (2013)
have designed a reduced-scale
model in such a way to identify the parameters governing the
behavior of the GEC’s installed in clayey soils. As a result, they
propose to encapsulate only the upper half of the column.
1...,601,602,603,604,605,606,607,608,609,610 612,613,614,615,616,617,618,619,620,621,...840